Необходимость проведения и его условия
Подсчет необходим для выявления создаваемой нагрузки на 1 кв.м. грунта в соответствии с допустимыми показателями.
Грамотный сбор нагрузок — залог надежности основания
Успешная реализация названного мероприятия предусматривает необходимый учет следующих параметров:
- условия климата;
- тип почвы и его особенности;
- границы грунтовых вод;
- конструктивные особенности здания и количество используемого материала;
- планировку сооружения и вид кровельной системы.
С учетом всех перечисленных характеристик расчет основания и проверка соответствия выполняется после утверждения проекта сооружения.
Как рассчитывается фундамент под металлические колонны

Изображение металлической колонны на обустроенном фундаменте Несмотря на огромную популярность каркасных ленточных или монолитных фундаментов, в некоторых случаях они не могут использоваться из-за особенностей почвы, нагрузок на единицу площади конструкции, особенностей самого здания. Как правило, колонные фундаменты часто строятся для промышленных предприятий тяжелой энергетики, машиностроения и для военных нужд.
Такие бескаркасные фундаменты выдерживают огромные нагрузки, но расчет делается всегда каждой колонны отдельно, ведь тут проводится полный сбор всех допустимых нагрузок со стороны самого здания, почвы и климатических условий в регионе строительства.
Какие бывают колонны?

Эскиз обустройства фундамента под металлической колонной Железобетонные. Они отличаются прочностью, производятся в промышленных условиях, поэтому соответствуют всем нормам качества, а также марке бетона. Внутри таких колонн уже предусмотрено несущее армирование, но колонны такого типа тяжелые и для их монтажа приходится использовать мощную строительную технику.
Металлические. Они более легкие, чем железобетонные, но при этом тут используются совсем иные методы монтажа. К тому же, при расчете нужно однозначно определиться изначально, какой тип колонны лучше использовать.
Какие данные нужно собрать для правильного расчета фундамента под колонны?

Схема соединения металлической колонны с арматурой фундамента Расчет колонного фундамента провести довольно сложно, ведь тут проводится сбор сразу многих факторов. Понятно, что самостоятельно такие сложные вычисления сделать практически невозможно, нужно специальное образование и навыки. Поэтому, перед началом расчета колонного фундамента, нужно получить следующие данные:
- особенности климатических условий в регионе строительной площадки, тип и мощность ветров, а также периодичность ливней;
- создать подробную геодезическую карту, причем лучше делать скважинный анализ с целью получить данные о структуре почвы, толщине мягких и прочных пород. Также нужно получить данные о залегании грунтовых вод, их сезонном движении;
- масса самого здания. Чем она больше, тем и колонны должны быть мощнее. Понятно, что для железобетонных колонн используются фундаменты стаканного типа, а для металлических – совсем другие;
- тип колонны, ее несущие характеристики, степень растяжения и сжатия при воздействии повышенных и пониженных температур;
- тип бетона, его марка, состав и эксплуатационные характеристики;
- структура будущего сооружения, материал несущих стен и перекрытий, высота сооружения.
Изготовление фундаментов стаканного типа и основные требования к ним
При установке таких оснований нужно помнить, что прочность изделия может быть достигнута только за счет использования качественных строительных материалов и хорошего армирования. Поэтому железобетонный фундамент и отличается длительным сроком эксплуатации.
Установка колонны в стакан фундамента.
Этот тип основания редко используется в общем частном строительстве, потому что отличается высокой стоимостью и необходимостью использовать механизированную технику. Основание запрещено ставить на пучинистых и просадочных почвах. Технология предусматривает установку железобетонных опор и стоек в готовый стакан, в котором затем происходит фиксация.
Требования к фундаменту:
- Бетон должен соответствовать М200 и обладать степенью водонепроницаемости В2;
- Транспортировку стоек следует осуществлять на место строительства только после того, как основание наберет необходимый запас прочности;
- Следует обязательно выполнить армирование основания. Толщина слоя бетона вокруг армирования должна составлять не менее 30 мм;
- Обнаженная арматура – заводской брак, в строительстве использовать такие изделия категорически запрещено;
- Если в бетоне есть трещины с толщиной более 0,1 мм, то это также брак;
- Все производственные петли в блоках нужно аккуратно демонтировать, забивать их в бетон категорически запрещено.
Когда нужно обязательно использовать стаканный фундамент
- При строительстве промышленных и частных зданий общего назначения, в несущей конструкции которых используются бетонные опоры и стойки;
- При возведении электростанций, а также в атомной промышленности, при монтаже армированных стоек для машинных и конденсационных отделений;
- При проведении реставрационно-востановительных работ на стойках и колоннах в административных зданиях;
- Если проектом предусмотрено использование стоек как единственно возможной несущей конструкции здания.
Преимущества стаканных фундаментов
- Высокая прочность и качество заводских блоков, т.к. при их производстве осуществляется контроль качества и проверка на прочность и разрыв всех несущих элементов;
- Это оптимальное основание для строительства промышленных зданий, где присутствуют локальные нагрузки на единицу площади фундамента;
- Простая технология монтажа;
- Экономия сил и времени на возведении фундамента.
Также нужно учитывать необходимость транспортировки отдельных стоек и колонн непосредственно от производителя, а, учитывая их размеры, иногда приходится продумывать специальные маршруты следования.
Монтаж стаканного фундамента

Монтаж сборных фундаментов колонн массой от 5 до 30 т обычно производится стреловыми кранами.
Учитывая ключевые особенности рассматриваемых фундаментов, монтаж проводится только под непосредственным наблюдением специалистов. Только они способны контролировать весь процесс установки опор и правильность их армирования. В процессе монтажа, железобетонные изделия проходят несколько этапов:
- Подготовка поверхности. Ее тщательно выравнивают, т.к. смещение железобетонных балок в фундаментах стаканного типа крайне нежелательно;
- Подготовка углублений. Выкапываются на конкретную глубину, затем выполняется их укрепление гравием, тщательно трамбуются;
- Устройство железобетонного фундамента. На этом этапе также используется трамбовка грунта, а также происходит установка блоков.
Ключевая задача, которая стоит перед фундаментами стаканного типа – это обеспечение равномерного распределения нагрузок по всей поверхности почвы. Соответственно, использовать стаканные основания можно только на такой почве, которая способна выдержать большие нагрузки и не проседать со временем.
Сборка железобетонных блоков
Производить монтаж любой серии сборного железобетонного фундамента необходимо в шахматном порядке, иначе конструкция попросту разрушится в результате сильного удара об угол. При укладке блоков используется цементно-песчаный раствор, толщиной примерно в 20 миллиметров, который следует постоянно выравнивать с помощью строительного уровня. По мере установки швы должны также плотно заполняться раствором.

Не стоит забывать о необходимости оставить между блоками специальные проемы для того, чтобы затем провести средства коммуникации или канализацию. Как только гильзы будут вмонтированы в стену, необходимо заделать все швы и дыры с помощью строительного раствора. В противном случае сквозняков и попадания влаги внутрь дома не избежать.
Также при монтаже блоков настоятельно рекомендуется использовать перевязку в рядах. особенно на месте соприкосновения внутренних и наружных стен. Ну а качественная гидроизоляция имеет одно из самых важных значений, поскольку соприкосновение с влажной средой может стать губительным для фундамента. Именно поэтому в наземной части фундамента стоит забить все пазы блоков плотным грунтом. Лучше всего использовать для этой цели глину или ту же землю, которая останется на участке после выкапывания котлована.
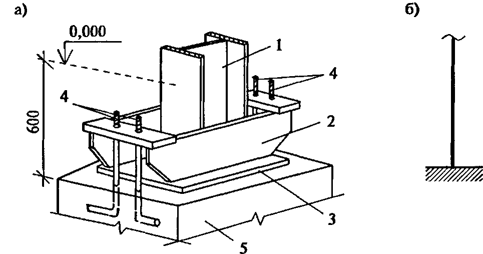
Анкерные соединения
![]()
Конструктивная схема с указанием нахождения анкерных соединений В зависимости от типа выбранной колонны, анкерные соединения подбираются в индивидуальном порядке. Установки и фиксация колонны выполняется с помощью больших болтов или анкеров, которые затем привариваются к арматурному слою и надежно удерживают колонну в вертикальном положении.
Отличительная особенность монтажа соединительных элементов в том, что после их закрепления фундамент разбивают. Если после этого отклонения болтов не произошло, то монтаж считают выполненным правильно, а если есть отклонения центров на расстояние от 2 мм, тогда анкера заменяют.
Изготовление конструкции

Схема устройства фундамента стаканного типа.
Изготовление стаканов под колонны производится с использованием бетона и усиленной схемы армирования. Именно за счет этого такие типы обладают более высоким сроком службы. Фундамент стаканного типа не предназначен для использования в сфере индивидуального строительства. Его прямое назначение — возведение промышленных объектов и мостов.
Еще один важный факт: такой фундамент под колонны нельзя устраивать на грунте, имеющем просадочный либо пучинистый характер. Самым частым использованием такого типа является устройство металлических или железобетонных колонн, установка которых выполняется в специальный стакан, после чего проводится фиксация.
Если говорить об основных требованиях, то они изложены в ГОСТе 23972-80. К ним относятся:
- используемый для изготовления бетон должен соответствовать марке 200, а характеристики водонепроницамости — марке В2;
- характерная отметка для водопоглощения бетонной конструкции не должна быть выше 5%;
- поставка готовых изделий возможна только после набора бетоном должного предела прочности;
- армирование при изготовлении фундамента является обязательным условием, толщина слоя вокруг арматуры не может быть меньше чем 3 сантиметра;
- обнаженная арматура в готовой конструкции расценивается как брак, использование таких изделий категорически запрещено;
- наличие в бетонном изделии трещин, превышающих значение в 0,1 миллиметра, требует замены на более качественный экземпляр;
- при выполнении строительных работ имеющиеся на изделии монтажные петли аккуратным способом удаляются, вбивать их в бетонную конструкцию запрещается.
Устройство основания
По окончанию работы над проектом, следует приступать непосредственно к самой работе. Вначале переносят проектные чертежи на местность. Строительный участок разбивают натянутыми на колышки осевыми линиями из проволоки или шпагата. Колышки устанавливают так чтобы, пересекаясь между собой, осевые линии образовывали периметр будущей постройки.
Далее рассмотрим, как устроены монолитные фундаменты для колонн, производимые по разным технологиям.
Ленточный монолитный фундамент
При устройстве ленточного монолитного основания выкапывают траншею по всему периметру стройки, и ещё там, где будут внутренние несущие стены. В местах установки колонн делают расширения, а если проект предусматривает заливку в этих точках бетонных «стаканов», то ещё делают углубления в грунте.
Такое обильное усиление конструкции необязательно, если масса будущей постройки небольшая. Можно просто в точках установки колонн усилить каркас арматурой.
На дно траншеи засыпают подушку из песка, щебня или гравия по всему периметру, потом укладывают объёмный каркас. Каркас собирают и монтируют так, чтобы он возвышался над траншеей на высоту в 30–40 сантиметров, это нужно, чтобы защищать стены постройки от дождей. Выступающую часть каркаса забирают в опалубку.
Армирование опор

Обязательным условием для монтажа крепкого железобетонного основания столбчатого типа является армирование колонн
Обязательным условием для монтажа крепкого железобетонного основания столбчатого типа является армирование колонн. Поскольку армировать столбы по вертикали в опалубке сложно, то облегчить процесс установки стальной сетки можно путем её предварительной сборки (вязки) и установки в уже собранную опалубку.
Для создания армирующего пояса на каждый столб используют четыре вертикальных прута сечением 12-16 мм с рифленой поверхностью и горизонтальные пруты-перемычки сечением 6 мм
При этом важно знать, что если предполагается монтаж ростверка из дерева, то прутья арматуры не должны доходить до верха столба на 1-2 см. Если же предполагается монтаж железобетонного ростверка, то прутья арматуры должны выступать из залитых колонн на 25-40 см для качественной вязки армирующего пояса ростверка с прутьями колонны
Проектирование дымохода в зависимости от конфигурации отопления
Идем дальше. Какие дымоходы сегодня устанавливают чаще всего? Это кирпичные, керамические и из изолированной и неизолированной стали.
И в первую очередь, при проектировании дымохода, вычисляют его его минимальные показатели пропускной способности. Если здесь допустить ошибки, дымовые газы станут скапливаться внутри трубы и доставлять немало проблем.
Общая схема расположения дымохода выглядит так:
Если температура отходящих газов невысока, как у современных низкотемпературных котлов, тогда в верхней части дымохода устанавливают так называемые электрические дымососы.
Они представляют собой небольшой вентилятор с лопастями. Такое устройство принудительно убирает продукты сгорания из трубы, усиливая, тем самым, силу тяги. И тогда сила тяги уже не влияет напрямую на высоту дымохода, ведь ее добиваются другим способом, а не «ловлей ветра».
Если дополнительного приспособления нет, тогда ветер ловить все-таки придется. И в этом случае нужно отталкиваться от имеющейся мощности котла, печи или камина, которые можно узнать из технической документации. Она выражается в том количестве топлива, которое сжигают за один час работы.
Если количество объема топлива известно, тогда объем газов рассчитывают по такой формуле:
Vг = B∙V∙(1+t/273)/3600
Результат получится в м3/с. Это – скорость движения газов в трубе. Сечение трубы вычисляем уже по такой формуле:
F = π∙d²/4
И полученное значение определяют в м2. Это – площадь сечения дымохода, а диаметр рассчитывают по формуле:
dт = √4∙B∙V∙(1+t/273)/π∙ω∙3600
Остальные характеристики почти одинаковы у большинства отопительных приборов. Так, скорость выхода газов в дымоходе обычно не меньше, чем 2 метра в секунду, а температура газов на входе в трубы – от 150 до 200 градусов.
Также стандартный напор газов на 1 метр – не менее, чем 0,4 мм Н2О, или 4 Па:
Поэтапная инструкция монтажа фундамента стаканного типа
Приступать к строительству фундамента стаканного типа можно только после создания проекта, точно рассчитанного специалистами. В этом проекте должен учитываться вид нагрузки: при центральной используются опорные плиты квадратного сечения, при боковой – прямоугольного. Вид башмака и его сечение зависят от грунта и несущей способности фундамента.
Но независимо от размеров и вида, фундамент должен изготавливаться из бетона марки М200 с впитыванием влаги до 5% максимум от собственного объема (обозначается маркировкой В2). Для армирования используется арматура класса А2 или А3 для сварных конструкций.
Установка фундамента из готовых блоков
Первое, из чего начинается любое строительство – обеспечение подъездной дороги к объекту. Не стоит экономить на щебенке – вес каждого блока варьируется от 1,3 до 5,8 тонн, так что тяжело груженые фуры по грунтовке после дождей могут не проехать. Когда на стройку доставлен кран, экскаватор и все материалы, можно приступать к устройству фундамента:
- Выкапываются котлованы под стаканные блоки согласно разработанному проекту. Сначала экскаватором, а потом выравниваются по нивелиру вручную лопатами.
На дно обязательно насыпается минимум 30 см песчано-гравийной подушки, которая должна быть больше будущей плиты основания на 30 см. Сначала – гравий, который трамбуется и выравнивается по уровню. Потом такой же толщины слой увлажненного песка. Если песок поливается со шланга, нужно быть предельно аккуратным, чтобы не намочить земляное дно. Если дно котлована и песчаная подушка не выровнены, не добиться равномерного распределения веса. Согласно проекту, размечается центральная точка для каждого котлована, по которой будет выверяться положение плиты основания и башмака. С помощью крана блоки переносятся к котловану, а два строителя на весу выравнивают их согласно разметке и после этого кран опускает блок.
Выбранным из котлованов грунтом производится обратная засыпка установленных стаканов.
После того, как все стаканы засыпаны, с помощью крана устанавливаются железобетонные колонны.
Фундаментная балка укладывается на стаканы между колоннами – для нее не нужно дополнительно заливать ленточный фундамент. А уже на эту балку будет ставиться бетонная стеновая панель.
Скорость установки готовых стаканов действительно впечатляет – за неделю можно поставить до 130 стаканов и сразу же приступать к возведению стен, не дожидаясь застывания фундамента, как это происходит при заливке.
Устройство монолитного фундамента
Несмотря на то, что стоимость готовых стаканных блоков не так и высока, практически всю денежную выгоду нивелирует сложная и дорогостоящая доставка многотонных башмаков. В некоторых случаях гораздо проще залить фундамент на месте, заказав несколько бетономешалок с готовой смесью. Самостоятельно замешивать бетон не стоит – добиться нужной марки не получится. Процесс устройства не очень отличается от установки готовых блоков:
- Выкапываются котлованы, выравнивается дно, укладывается и трамбуется песчано-гравийная подушка.
- Делается подбетонка – тонкий и ровный слой цементного раствора, который предотвратит потерю бетонного молочка.
На подбетонку устанавливается армирующий каркас для будущего стакана. Сваривать можно арматуру только с соответствующей маркировкой, если арматурные пруты не предназначены для сваривания, их связывают поволокой.
Вокруг армирования устанавливается опалубка, повторяющая форму стаканного блока. Если же планируется установка железных колонн, вместо пустой ниши внутри башмака делается монолитный стакан с вмурованными анкерами из высокопрочного металла.
Когда опалубка готова, можно приступать к заливке бетона. Не стоит забывать вибрировать бетон погружным вибратором до полного исчезновения пузырьков воздуха, поднимающихся из глубины. Если этого не делать, под весом стен и перекрытий основание может начать трескаться.
Снимается опалубка после того, как бетон затвердеет – ориентировочно на третий день после заливки. Остаточную прочность бетон набирает только через месяц, все это время фундамент нужно поливать и укрывать.
Только после того, как фундамент остаточно затвердеет, можно приступать к обратной засыпке и установке колонн.
Для понимания процесса, на видео показано, как заливается подобный тип фундамента:
3.1. Общая часть
Фундаменты под трубы и оттяжки запроектированы, согласно заданию Главстройпроекта, для районов со следующими характеристиками природных условий:
— ветровой напор для I ÷ III ветровых районов по СНиП II-6-74;
— расчетная зимняя температура до -40 °С;
— рельеф территории спокойный, грунтовые воды отсутствуют, грунты непучинистые, непросадочные со следующими нормативными характеристиками:
нормативный угол внутреннего трения φ = 0,49 или 28°;
нормативное удельное сцепление Сн = 2 кпа;
модуль деформации нескальных грунтов Е = 14,7 МПа;
плотность грунта γ = 1,8 г/м3;
коэффициент безопасности по грунту Кг = 1.
Фундаменты под трубу предназначены для эксплуатации при температуре отводимых дымовых газов не выше 350 °С на входе в трубу. Сернистость отводимых газов для мазута S = 3,5 %, для каменного и бурого угля S = 5 %.
С чего начать закладку
Как и в процессе кладки печи, понадобятся хорошо обожженные кирпичи, поскольку на фундамент приходится большая тепловая нагрузка. Каждый последующий ярус, должен быть на один кирпич меньше предыдущего, пока окончательно не получится выйти на запланированный размер дымовой трубы. В процессе кладки, требуется очень тщательная подгонка кирпичей друг к другу, а толщина швов, должна быть такой же, как и при строительстве печи. В зависимости от дымовой трубы ,фундаменты также могут быть:
- отдельно стоящими;
- являться продолжением стены
В том случае, если фундамент и труба пристраиваются к стене, необходимо дополнительно обработать и её поверхность, а в процессе кладки, добавлять глиняный раствор в пространство между кирпичом и стеной. После того, как фундамент под дымовую трубу выложен, можно уложить несколько кирпичей будущего дымохода, после чего, не менее суток, следует отдать на просушку и можно приступать к выкладке самой дымовой трубы.
Труба для дыма своими руками, может быть выполнена не хуже, чем у профессиональных печников, если придерживаться нехитрых правил. При желании в трубе можно оборудовать несколько каналов, к которым будут подключаться приборы, находящиеся на одном этаже, причём это не обязательно могут быть печи, а например газовые колонки или вытяжки. Предпочтительная форма канала в виде квадрата или прямоугольника. Специалисты не рекомендуют оштукатуривать дымовые каналы, внутри, поскольку взаимодействие между продуктами горения и составляющими штукатурки, приведёт к её растрескиванию т опаданию. Если в дымоходе проектируется несколько каналов, то толщина стенки между ними, не должна превышать половины кирпича и столько же отводится для стены, выходящей во внутрь.
В случае прокладки дымовых каналов в стене выходящей наружу, или по не отапливаемому чердаку, толщина стенок должна равняться одному кирпичу, либо же производится утепление, слоем до пяти сантиметров. Дымовые и газоотводящие каналы рекомендуется группировать с вентиляционными, в одной трубе, что помогает улучшить тягу и снизить потери тепла.
Особое внимание следует уделить сопряжению между стеной и дымоходом, если материалом для стены является не кирпич. Наиболее часто, в употреблении встречаются керамические или керамзитобетонные блоки. В такой ситуации, между дымоходом и стеной, создаётся анкерное соединение из стальных полос, которое закладывается в каждом втором ряду, а при больших размерах, используемых для стены материалов, закладка анкеров производится в каждом из рядов
Глубина ввода анкеров в кладку дымохода и стены, должна быть не менее двадцати сантиметров
В такой ситуации, между дымоходом и стеной, создаётся анкерное соединение из стальных полос, которое закладывается в каждом втором ряду, а при больших размерах, используемых для стены материалов, закладка анкеров производится в каждом из рядов. Глубина ввода анкеров в кладку дымохода и стены, должна быть не менее двадцати сантиметров.
дымовая трубакладка печи
Этапы устройства основания
При разметке участка желательно использовать геодезическое оборудование После того, как будут закончены работы над проектом будущего здания, следует приступать непосредственно к строительным работам. Прежде всего, производится перенесение проектных чертежей на местность. Участок строительства разбивается с помощью осевых линий – тонкой проволоки или шпагата, натянутых на колышки.
Эти колышки устанавливаются таким образом, чтобы осевые линии, пересекаясь между собой, образовывали периметр будущего здания. Затем производятся земляные работы. Их характер и объём полностью зависят от типа запроектированного фундамента.
Для равномерного распределения веса здания на опоры, необходимо максимально точно рассчитать на местности точки заложения оснований под столбы.
Ниже рассмотрим особенности устройства монолитных фундаментов для колонн, производимых по различным технологиям.
Столбчатое монолитное основание
Для устройства столбчатого монолитного фундамента достаточно выкопать яму нужной глубины под заливку монолитного стакана, либо для установки готового «стакана». На дне также сооружается песчано-гравийная подушка. Перед заливкой монолитного столбчатого фундамента вымеряется точка установки колонны и сооружается опалубка.
Внутрь нее помещается каркас с закладной или с выступающими вверх штырями для крепления будущей опоры. Конструктивно столбчатое основание может быть исполнено как в виде монолитной плиты, так и в виде ступенчатой пирамиды из двух-трёх уступов. В последнем случае каждая ступень заливается по отдельности, начиная с самой нижней.
Посмотрите видео, как производится установка колонны в стакан.
Ленточное монолитное основание
В этом случае выкапывается траншея по всему периметру постройки, а также там, где будут проходить внутренние несущие стены. В точках монтажа колонн делаются расширения или углубления в грунте, если проектом предусматривается установка или заливка в этих местах бетонных «стаканов».
Конструкция ленточного основания под колонны
В случае если общая масса строящегося здания не такая уж и большая, можно обойтись без подобного усиления конструкции. Достаточно будет в точках монтажа несущих опор лишь усилить каркас с помощью более толстой арматуры, выпуска вертикальных стержней или установки металлических пластин – «закладных».
По всему периметру траншеи, на дно засыпается подушка из крупного песка, гравия или щебня, а затем укладывается объёмный каркас. Он собирается и монтируется таким образом, чтобы возвышаться над уровнем траншеи на определённую высоту (не менее 30-40 см), необходимую для защиты стен здания от потоков талой и дождевой воды. Выступающая часть каркаса забирается в опалубку.
Сплошное монолитное основание
Для заливки сплошной железобетонной плиты необходимо снять верхний слой почвы на всей площади будущей постройки. Затем площадка выравнивается в горизонтальной плоскости и засыпается щебнем, песком или гравием. Поверх песчано-гравийной подушки укладывается объёмный каркас, в точках монтажа опор также делается усиление каркаса, выпускаются стержни (анкерные болты) либо монтируется металлическая закладная пластина.
Рекомендуем посмотреть видео о том, как производится монтаж колонны на готовое основание.
Свайные монолитные основания
По типу устройства такие основания могут быть нескольких типов, но к монолитным фундаментам под колонны можно отнести, пожалуй, только буронабивную технологию. В местах монтажа будущих колонн с помощью бура делается отверстие, куда устанавливается опалубка.
Устанавливать закладные, анкера или выпуски арматуры под будущую колонну лучше до заливки монолита. В этом случае возможно скрепить данные детали с каркасом, что делает связь колонны с основанием более прочной. Кроме того, это отнимет гораздо меньше сил и времени.
Поскольку от правильного выбора фундамента зависит надёжность здания и долговечность его эксплуатации, подходить к расчётам нужно очень ответственно. Наилучшим вариантом будет обратиться к специалистам, которые смогут составить проект с учётом всех мельчайших нюансов.
Основные элементы металлической колонны

Оголовок. Это верхняя часть колонны, к которой присоединяются фермы, ригели, балки, рельсы мостовых кранов (в заводских цехах). Крепление может осуществляться двумя способами: сверху и сбоку. Если выбран шарнирный свободный вариант присоединения, то балка устанавливается поверх оголовка, который представляет собой плиту с ребрами жесткости.
Прочность и устойчивость такой конструкции обеспечивается за счет сварки и укрепления платформы дополнительными поперечными элементами. Если крепление осуществляется жестким методом, балку соединяют с боковой стороной опоры. К металлической колонне приваривают столик, на который укладывается ригель, ферма и т. д. Оголовок колонны предназначен для принятия внешней нагрузки и дальнейшей ее передачи на фундамент.
Стержень. Так называют среднюю часть металлической колонны. Стержень – это тот участок, который испытывает постоянное воздействие на сжатие. В зависимости от предполагаемой нагрузки при проектировании каркаса здания рассчитывается оптимальная толщина стенок стержня. При необходимости он может быть оснащен дополнительными укрепляющими элементами. Косынки и ребра жесткости делают стержень более устойчивым и надежным. В зависимости от вида стержни делятся на сплошные и сквозные (безраскосные, перфорированные и решетчатые). Большинство стержней изготавливается из одиночных широкополочных двутавровых балок или прокатных профилей.
База. Так называется нижняя часть металлической колонны здания, которая соприкасается с фундаментом. Конструкция базы подбирается индивидуально, с учетом вида, высоты сечения стержня, выбранного способа монтажа металлической опоры и варианта прикрепления к фундаменту. Для присоединения колонны к фундаменту обычно используются анкерные болты. База может быть раздельной или сплошной, с траверсами или без.

Консоли. Консоли необходимы для металлических опор, устанавливаемых в промышленных объектах строительства. Если в цехе или на складе планируется монтаж мостового крана, то рельсы для его движения прокладываются с упором на несущие опоры. Консоли предназначены для крепления металлических балок к металлическим колоннам.
Металлические несущие колонны изготавливаются производителем с использованием профильных труб либо двутавровых балок. Для того чтобы рассчитать размер стойки, необходимо определить прочность стенок колонны с учетом особенностей фундамента и всех присоединяемых элементов конструкции.


















































